天天操综合网I精品免费视频.I91精品麻豆I激情av网址I日本精品视频一区I91丨九色丨蝌蚪丨对白

Previous Next

單繩纏繞式提升機鋼絲繩與天輪偏角調整方法研究(1)(圖文)

時間:2024-08-26 08:08:31  點擊數:


      纏繞式提升機是礦山常用提升設備,是礦井連通井上和井下的重要通道。其中鋼絲繩在整個提升系統中起著重要作用,因單繩纏繞式提升機的提升載荷由單根鋼絲繩承載,若鋼絲繩出現問題未及時解決,會引發重大安全事故。

      某礦井的纏繞式提升機長期用于提升毛石,年檢時更換主提升繩后進行提礦試運行,在后續的日常檢查中發現,罐籠運行至某中段時,對應的鋼絲繩磨損嚴重,且繩徑變化迅速,經連續兩周測量,zui細處繩徑已達 27.1 mm (原繩徑為 28.0 mm),磨損量達 1.0 mm,若不加管理,伴隨磨損的增加,勢必釀成大禍。經仔細觀察發現,鋼絲繩磨損的位置恰處于鋼絲繩換層之處,此處的鋼絲繩與天輪外偏角處于zui大值。《金屬非金屬礦山安全規程》第 6.4.4.12 條規定,在纏繞式提升系統中,卷筒至天輪的鋼絲繩zui大偏角不應超過 1°30′,超出此值,鋼絲繩與天輪輪緣會產生干涉,進而磨損鋼絲繩,而該礦山所使用的提升系統屬于該情形。

      面對此種狀況,需對鋼絲繩天輪偏角進行調整,調整方法諸多,一種方法是更換天輪襯墊,以減少鋼絲繩對天輪輪緣的磨損,但隨使用時間的延長,襯墊磨損亦會加劇,鋼絲繩終將再度產生干涉;另一方法為調整滾筒的水平位置,使滾筒整體平移,將原基礎拆除并重新施工,但工程量大且耗時費力。

      筆者提出一種簡便易行的方法,使天輪底座在水平方向上作微小角度的轉動,令天輪入繩點正對相應滾筒的中 心,使鋼絲繩的內外偏角近乎相等,從而達到偏角調整的效果。

1 調整前鋼絲繩和天輪內外偏角的測量

1.1 天輪內外偏角測定方案

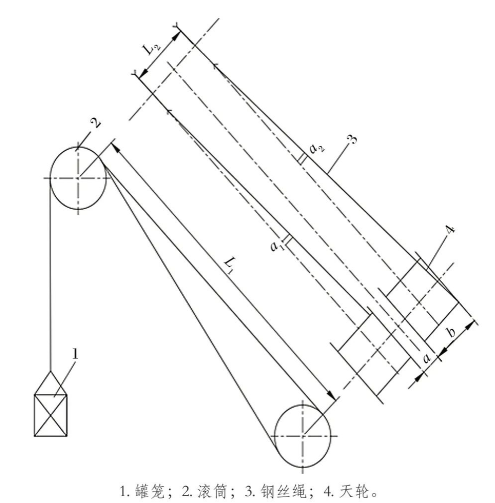
      天輪內外偏角示意如圖 1 所示,為了確定是否因鋼絲繩內外偏角偏大導致的鋼絲繩異常磨損,需要對提升機的內外偏角進行測量。由圖 1 可知,α1 為天輪鋼絲繩內偏角,α2 為天輪鋼絲繩外偏角,當鋼絲繩處于左右擋繩板附近時,鋼絲繩與天輪的偏角達到zui大。

圖1 鋼絲繩與天輪輪緣偏角示意

      由于該提升機卷筒中 心線、軸線已被破壞,天輪軸線無法直接測定,只能采取間接方法測定卷筒中 心線、軸線及天輪中 心線和軸線。

      在機房內選擇通視條件良好的位置架設全站儀,建立假定坐標系,取測站坐標 O(1000,1000,1000),在每個天輪繩槽中間測定 1 組數據 (每組 3 點),共測定 2 組;在卷筒擋繩板兩側內壁各測定 1 組數據 (每組 3 點),共 4 組。測量的數據如表 1 所列。表中,測點 1~ 3 為 1 號天輪實測坐標,4~ 9 為 1 號天輪對應坐標,10~ 12 為 2 號天輪實測坐標,13~ 18 為 2 號天輪對應坐標。
 
表1 測量數據匯總

1.2 計算鋼絲繩內外偏角值

      第 一步,將實測數據在 CAD 中進行三維建模處理,通過擬合成圓形并確定圓心的辦法來求取卷筒中軸線和天輪中 心線及軸線。

      第 二步,在 CAD 軟件中經過計算,測得天輪的內外偏角結果如下:

      1 號天輪的內偏角為 0°47′53″;1 號天輪的外偏角為 1°39′24″;2 號天輪的內偏角為 0°12′40″;2號天輪的外偏角為 2°15′08″。

      根據《金屬非金屬礦山安全規程》第 6.4.4.12 條規定,1 號天輪外偏角和 2 號天輪外偏角都超過了規定的 1°30′,均需要進行調整。

 


25噸鑿井絞車 鑿井穩車 穩車 源頭生產廠家 支持定制
25噸鑿井絞車 鑿井穩車 穩車

鑿井絞車是一種用于礦山、豎井建設等工程中,進行懸吊設備、拉緊穩繩、吊盤、吊泵等操作的專用絞車。它通常具有較大的提升能力和較為穩定的運行性能,以適應復雜的井下施工

2JZ-16/1300 鑿井絞車 鑿井穩車 穩車 雙民礦機 源頭生產廠家 支持定制(圖文)
2JZ-16/1300 鑿井絞車 鑿井穩

鑿井絞車是一種專門用于開鑿井眼的機械設備。它通常由電機、減速器、絞車機構、鉆桿、磨具、井口安全裝置等部件組成,結構為纏繞式,其中主軸裝置包括主軸、齒輪、卷筒、制

鑿井絞車  JZ-16/1300 源頭廠家 雙民礦機 型號齊全 支持定制(圖文)
鑿井絞車 JZ-16/1300 源頭廠

穩車又叫做穩盤絞車、鑿井絞車,是煤礦井下常用的提升設備。JZ系列鑿井絞車主要用于煤礦、金屬礦、非金屬礦豎井井筒掘進時懸吊吊盤,水泵,水管,注漿管,鳳筒等掘進設備和張緊穩